人間四月芳菲至,萬紫千紅滿目春。4月20日,江蘇科技大學4000多名應屆畢業學生首批返校。如何做到抗疫復學兩不誤?江蘇科技大學精心謀劃、反復模擬,推出信息化三項“硬核操作”,用智慧手段助力學生安全返校。
“大數據”助力返校學生精準排查
哪些學生可以返校、哪些學生返校后需要集中隔離……全覆蓋、無遺漏、精準掌握每位學生的居住地、假期出行軌跡及返校前14天健康狀況,堅決堵塞任何疫情傳播漏洞,對于學校復學至關重要。江蘇科技大學20000余名師生每天通過“健康打卡”小程序進行健康信息填報,生成了精準的個人健康檔案。返學前,學校用大數據技術對畢業生返學前連續14天健康檔案進行數據分析和篩查,發布14日內健康異常人員數據,為確定學生報到名單提供了有力的支撐。

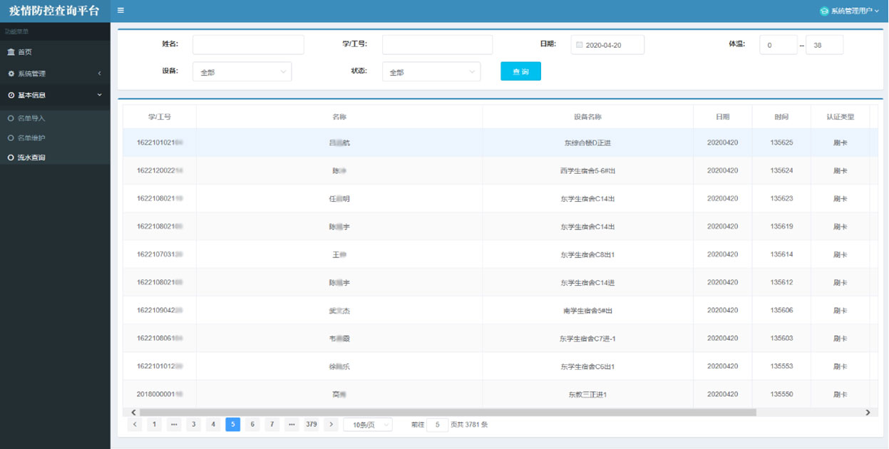
疫情防控查詢平臺界面
“小機器”2秒實現身份核驗
在報到現場,驗證蘇康碼、體溫檢測這樣的入學常規操作之外,江蘇科技大學推出“刷身份證、秒速報到”的入學手續辦理方式。“不用拿學生證、不必出示校園卡,只要刷一下二代身份證,2秒鐘就能完成身份核驗!”材料學院的閔海同學感嘆到:“刷身份證相對于”掃二維碼“,具有快速、安全的明顯優勢。避免了扎堆掃碼、人員停留時間長,造成校門擁堵和交叉感染的風險。學校考慮得太周到了!”

進校園秒速身份核驗
“校園卡”輔助人員聚集管控
疫情期間根據上級要求,如何追溯、排查師生校內活動軌跡?如何進行圖書館等封閉場所的人流預警?江蘇科技大學在鎮江三個校區的8棟樓宇(包括教學樓、實驗樓、宿舍及辦公場所)緊急部署門禁設備、升級通道機,用于記錄師生通行數據。用校園卡輔助師生進出樓宇管控,用數據輔助場所人員分流,為有效應對人員聚集易造成交叉感染風險提供了有力支撐。學校防疫工作領導小組能實時獲取相關場所的人員流量信息,遇到突發事件可以快速反應、精準決策。

刷校園卡進宿舍樓宇
2020年2月14日,習近平同志在主持召開中央全面深化改革委員會第十二次會議時指出:要鼓勵運用人工智能、大數據、云計算等數字技術在疫情監測分析、病毒溯源、防控救治、資源調配等方面更好地發揮支撐作用。江蘇科技大學迅速響應號召,精心謀劃、細心部署,利用信息化手段把防疫工作從應急管控向“常態化”防控轉變。 智慧復學,智慧管控,江蘇科技大學正在行動!
http://xxh.resource.edu.cn/news/1772.html 中國教育和科研計算機網 2020年4月21日



